一、概 述
DDRB-N(原ZB)型多點潤滑泵適用于潤滑頻率較低,潤滑點在50點以下,公稱壓力為31.5MPa的多線式中小型機械設備集中潤滑系統中,直接或通過單線分配器向各潤滑點供送潤滑脂的輸送供油裝置。特別適用于冶金、礦山、重機、港口運輸建筑等單機設備。
|
|
|
二、技術參數
出油口數 |
公稱壓力Mpa |
每日排量ml/次 |
貯油容積L |
給油次數 |
電機功率kW |
重量kg |
1~14 |
31.5 |
1.8;3.5
5.8;10.5 |
10 30 |
22 |
0.18 |
43 |
使用介質為錐入度不低于265(25℃,150g)1/10mm的潤滑脂或粘度等級大于N68的潤滑油,工作環境溫度為-20~80℃。
|
三、型號說明 |
|
|
四、動作說明
|
|
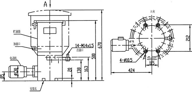
DDRB-N型多點潤滑泵主要由貯油器、減速機構、壓油柱塞泵和電動機等部分組成。
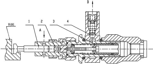
電動機驅動蝸桿、蝸輪減速轉動,蝸輪軸帶動偏心驅動輪以低速轉動,由驅動輪的拉盤帶動壓油柱塞泵元件柱塞作往復的吸壓油運動,從而各泵元件的出油口向外排出潤滑劑。 |
|
五、外形尺寸 |
 |
|
六、使用要領 |
1、該型多點潤滑泵應安裝在環境溫度合適,灰塵少,便于檢查、維護保養及方便補脂的地方。
2、向貯油器內補脂必須使用加油泵從貯油器的加油口加入,嚴禁揭蓋加入不經過濾的使用介質。
3、按貯油器筒壁上旋向牌規定的旋向進行電機接線,不得反轉。
4、給油口數可在1~14范圍內任意選擇,根據設備需要不用的壓油柱塞泵元件可以自行拆下,螺孔用M20×1.5螺塞封堵即可。
5、給油量的調整,按下圖調節序3螺套的位置即可獲得。 |
 |
1—工作活塞 2—控制活塞 3—調節螺套 4—單向閥 |
|